|
RD3DS сайт радиолюбителя
|
|
РИГА-103-2 №536641 1074г
| |
| RD3DS | Дата: Вторник, 18.02.2025, 17:04 | Сообщение # 1 |
|
RD3DS
Группа: Администраторы
Сообщений: 198
Статус: Offline
| ПЛЮСЫ крепкая конструкция чувствительность 20 мкВ на КВ и 2мкв на УКВ. селективность 40 дБ переключаемая полоса УПЧ-АМ высоко чувствительный блок УКВ1-С75-6,8РП качественный динамик 1ГД4Б с "RRR" при работе от внешней антенны два гнезда внешних антенн КВ и УКВ отключаемая магнитная антенна кнопка МА отключаемая штыревая антенна кнопкой МП
МИНУСЫ шкала изнутри боится воды контакты диапазонов окисляются (хорошо промываются спиртом или аптечным нашатырным спиртом) длинные не экранированные провода к КПЕ и в межблочных соединениях.
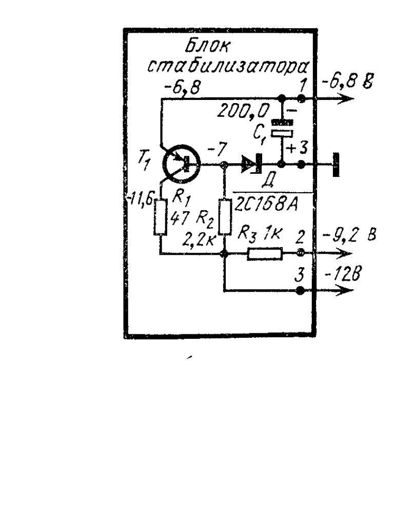
СХЕМА Очень много модификаций, но родную так и не нашел. Плата блока КСДВ-ПЧ смотри ниже.

 $IMAGE3$
|
| |
|
|
| RD3DS | Дата: Вторник, 18.02.2025, 20:19 | Сообщение # 2 |
|
RD3DS
Группа: Администраторы
Сообщений: 198
Статус: Offline
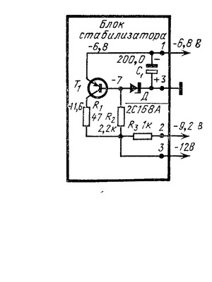
| ПИТАНИЕ питание приемника 12в 20-200ма С5=2000,0 С50-6 (факт=2500) на блоке динамиков
СТАБИЛИЗАТОР питание Т1-Т4 блока УНЧ н13, блока УКВ н4 (через переключатель-УКВ), блока КСДВ-ПЧ н7 3н=12в 2н=9,2в 1н=6,8в факт 6,99в
|
| |
|
|
| RD3DS | Дата: Вторник, 18.02.2025, 22:16 | Сообщение # 3 |
|
RD3DS
Группа: Администраторы
Сообщений: 198
Статус: Offline
| Регулятор громкости R1=100к СП3-12В С4=120 на регуляторе громкости подьем высоких с тонкомпенсацией на малой мощности подьем низких и высоких (давит средние частоты) Трещит регулятор.
Заменил временно обычным 1,5М с блокировкой R=100к работает хорошо. Родной разобрал не снимая, промыл спиртом, работает. В точке крепления отвода пропадают низкие частоты, дальше работает нормально.
|
| |
|
|
| RD3DS | Дата: Вторник, 18.02.2025, 22:47 | Сообщение # 4 |
|
RD3DS
Группа: Администраторы
Сообщений: 198
Статус: Offline
| УНЧ фактически плата УНЧ-1 с четырьмя 2Т203 на входе остальные по схеме. Т1 МП41 73г Б=0,16(0,184) К=0,85(0,86) Э=0,08 (0,102) (при R5=56к) С2=1,0 стоит 5,0 вход УНЧ (в некоторых схемах 1,0 ) поставил 1,0х50в флаг К50-6 85г ромб С4=30,0 питание (стоял 2Т203 Б=0,67 К=1,77 Э= 1,07)
Т2 МП41 74г Б=0,85(0,871) К=2,2(2,65) Э=0,7 (0,765) +R5=56к ( стоял 33к 94г для 2Т203Б) ООС режим работы транзисторов ( поставил 56к ) уменьшение нелинейных искажений С5=0,05 фильтрация высоких С6=30,0 ОС С7=1,0 выходной (стоит 5,0) поставил 1,0х50в импорт С8=1000 ОС срезает частоты выше 20кгц (стоял 2Т203 Б=1,758 К=1,252?????? Э= 1,09)
Т3 МП41 70г Б=0,25(0,123)(0,112) К=2,2(1,59)(1,23) Э=0,15 (0,004 нет R19=390 стоит только R20=8 ) ????????????? С14=10,0 вход R16=33к R18=10к восстановил цепочку в эмитере R19,С15 R19=390 в эмитере (отсутствует модернизация завода стоит перемычка) восстановил С15=50,0 в ООС (нет есть отверстия) поставил 47х50в VX(M) nichicon (R17=100к режимы Т3 Б=0,25(0,308) К=2,2(2,15) Э=0,15 (0,2) R17=120к (Т3 Б=0,25(0,3) К=2,2(2,2) Э=0,15 (0,189) оставил (стоял 2Т203Б Б=0,64 К=3,36 Э=0,003)
Т4 МП41 81г (R17=100к Б=2,2(1,60) К=6,8(7,00 ) Э=2,3 (1,49) (R17=120к Б=2,2(2,2) К=6,8(7,00 ) Э=2,3 (2,08) оставил R22=3,9к С18=47(150)пкф ООС фазовые искажения стоит 47пкф R12=10к ООС уменьшает нелинейные искажения был вырван торчала 1 ножка установлен немного уменьшилась громкость, тембр мягче
(стоял 2Т203Б Б=3,36 К=6,99 Э=2,71)
R23=68к переменный режимы Т5,Т6,Т7,Т8,Т9 СРЕДНЯЯ ТОЧКА=6В (ФАКТ 6,56В прыгает 5,2-6,8 не выставить) ЗАМЕНИЛ выставил на С20 6в R32=15к переменный ОС выставить чувствительность УНЧ 3мв (на краю ослабления усиления рваный сигнал) С16 вход каскада (нет стоит перемычка) С18=47 фазовые искажения С17=10,0 выход R21 нет
КОРРЕКТИРОВКА ТЕМБРА R1=3,3к(факт 4,7к) С1=0,1 (факт МБМ 0,235) ослабляет средние и высокие , уменьшает громкость ПОСТАВИЛ 0,1 К73 С3=0,05 (факт МБМ 0,0855) ослабляет средние и высокие, уменьшает громкость ПОСТАВИЛ 0,05 К73 С4=120 на регуляторе громкости подьем высоких С5=0,05 фильтрация высоких (факт=103мкф) поставил 0,05 К73 белый С8=1000 С12=0,01 (факт 0,188мкф) минимальные НЧ поставил 0,1 К73 С13=0,5 С12=0,1 R14=470 срезание средних
ТЕМБР ВЧ С внешний=0,01 200В БМ-2 (факт=0,015мкф) поставил 0,01 К73-17 С10=6800 МБМ (факт 9650) вход ВЧ на темброблок С11=0,1 МБМ (факт 0,173мкф) поставил 0,1 К73 R=33к СП3-4аМ
ТЕМБР НЧ
С2=1,0 стоит 5,0 поставил 1,0 С7=1,0 стоит 5,0 вход НЧ на темброблок поставил 1,0 импорт С5=0,05 блокировка ВЧ на корпус поставил 0,047 С7-R13-С12-R15-С13-Т3 средние частоты минуя регулировки С13= тембр НЧ в старых 0,5 мбм в новых 1,0 к50-12 ВЗР и есть совсем исключен.+ поставил К73-11 0,47 250В стоит на контактах УНЧ, сильно уменьшает усиление УНЧ, снижает искажения на НЧ, R14=470 R=33к СП3-4аМ Rвнешний=3,3к со звездочкой выравнивание низких с высокими отсутствует поставил 3,3к к переменному тембра НЧ R15=150 С17=10,0
Т5 МП41 Б=0,71 (0,304) К=5,85 (5,95) Э=0,62(0,105) R23=68к режим Т5 Б=0,71 (НЕ ВЫСТАВЛЯЕТСЯ 0,7В????) выставлено 6В в средней точке УНЧ С19=50,0 ОС
Т6 МП41 Б=6,0 (6,186) К=12,0 (12,00) Э=6,00(6,83)
Т7 МП37 Б=5,85 (5,92) К=0,02(0,07) Э=6,0 (6,00)
Т8 П213Б Б=6,0 (6,08) К= (12,00) Э=(6,02)
Т9 П213Б Б=0,02 (0,07) К= (6,00) Э=0
+С20=500,0 15В К50-6 Армения выход УНЧ живой (факт С=740 R=1000к) оставил
|
| |
|
|
| RD3DS | Дата: Среда, 19.02.2025, 09:09 | Сообщение # 5 |
|
RD3DS
Группа: Администраторы
Сообщений: 198
Статус: Offline
| ГЕТЕРОДИН
Т5 ГТ322А Б=0,8() К=4,5() Э=0,6() стабилизированное питание 6,8в КПЕ подключен длинными гибкими многожильными проводами.(самодел МГТФ) заменен на жесткий одножильный.
УКЛАДКА ГПД
КВ1 25-31 9,4-12,1 9,865-12,565 (ФАКТ 9,820-12,680) по рискам на шкале 9,6 и 12,0МГц ГПД 10065 и 12465 уложен
КВ2 40-52 5,65-7,4 6,115-7,865 (ФАКТ 6,115-8,057) по рискам на шкале 5,6 и 7,3МГц ГПД 6065 и 7765 уложен
КВ3 15,1-17,9 (ФАКТ прием от 13570-20800) самопал ПЕРЕМОТАН L3(ГПД)-7ВИТКОВ (прием 13570-870....15100-800....17480-17900...18900-19020) (факт ГПД 14235-21256)
СВ 0,525-1,605 0,991-2,070 (ФАКТ 1,000-2,330 ) ????? по рискам на шкале 0,56 и 1,5МГц ГПД 1025- 1965 уложен ДВ 0,15-0,408 0,615-0,873 (ФАКТ 0,611-0,860 ) по рискам на шкале 0,16 и 0,4МГц ГПД 0,625-0,865
|
| |
|
|
| RD3DS | Дата: Среда, 19.02.2025, 09:11 | Сообщение # 6 |
|
RD3DS
Группа: Администраторы
Сообщений: 198
Статус: Offline
| УВЧ
Т1 ГТ322А Б=0,7(0,8) К=5,8(6,19) Э=0,4(0,6) УВЧ с резонансными контурами в коллекторе на КВ отгнила ножка обрезан и перепаян R6=150 чтобы транзистор не генерировал L1С9 фильтр пробка 34дб на 465кгц настроен на подавление 465кгц после настройки АЧХ ПЧ-АМ
ИНДИКАТОР НАСТРОЙКИ
|
| |
|
|
| RD3DS | Дата: Среда, 19.02.2025, 09:14 | Сообщение # 7 |
|
RD3DS
Группа: Администраторы
Сообщений: 198
Статус: Offline
| СМЕСИТЕЛЬ
Т2 ГТ322А Б=0,7(0,79) К=5,8(6,13) Э=0,55(0,66) R14=820 замыкается в ЧМ ГПД в эмитер через С11 в нагрузке фильтр ПЧ ТР2-ТР3 (стеклокерамические конденсаторы К22У с ТКЕ М47) ТР2 в АМ закорачивается
|
| |
|
|
| RD3DS | Дата: Среда, 19.02.2025, 09:19 | Сообщение # 8 |
|
RD3DS
Группа: Администраторы
Сообщений: 198
Статус: Offline
| ПЧ-АМ
Т3 ГТ322А Б=0,8(0,73) К=8,6(8,0) Э=0,53(0,47) в нагрузке фильтр ПЧ ТР4-ТР5 ПОЛОСА-кнопка переключает узкую 4кгц в широкую 12кгц
Т4 ГТ322А Б=1,0(1,03) К=8,2(7,9) Э=0,7(0,78) проколол шилом контакт базы, появился прием поработал неделю вышел из строя обрыв эмитера ЗАМЕНИЛ 74г в нагрузке фильтр ПЧ ТР6-ТР7 ПОЛОСА-кнопка переключает узкую 4кгц в широкую 12кгц
ФЛАЖКИ 15шт 0,047( К10-7 Н90 50в Тн=0,001) работают. ЗАМЕНИЛ на аналог К10-17Б (импортные керамические 50в Тн=2,5% Тип диэлектрика: X7R; ) остались C3 C6=0,047 под КПЕ С2=0,01 вход УВЧ, С17=3300 в УКВ заземление контура по ВЧ, С44=1000 НЧ фильтр ЧМ детектора
Блок КСДВ-ПЧ
|
| |
|
|
| RD3DS | Дата: Среда, 19.02.2025, 14:15 | Сообщение # 9 |
|
RD3DS
Группа: Администраторы
Сообщений: 198
Статус: Offline
| НАСТРОЙКА ПЧ-АМ Выход Х1-48 к С9 отпаянного от L9. Вход к аноду АМ детектора Д5. настроить узкую АЧХ ПЧ-АМ ТР3, ТР5, ТР7. включит ПОЛОСА подправить широкую АЧХ.


Припаять С9 на место и L1С9 (фильтр пробка -34дб на 465кгц) настроить на максимальное подавление 465кгц
|
| |
|
|
| RD3DS | Дата: Среда, 19.02.2025, 16:36 | Сообщение # 10 |
|
RD3DS
Группа: Администраторы
Сообщений: 198
Статус: Offline
| АМ детектор
Д5=Д2Е детектор R42=47к линейный выход АМ R41 смещение на диод С32 шунтирует ВЧ С36 шунтирует ВЧ R45(46)=33к(47к) R51=33к отсутствует. Делитель на корпус выхода НЧ очень громкий уровень выхода НЧ в АМ. Поставил. С42=5,0 выход НЧ проверил к50-6 5х15в 73г живой заменил к50-6 5х25 ромб
|
| |
|
|
| RD3DS | Дата: Среда, 19.02.2025, 16:44 | Сообщение # 11 |
|
RD3DS
Группа: Администраторы
Сообщений: 198
Статус: Offline
| ПЧ-ЧМ 6800 Х1-48 выход на н5 блока УКВ(-30дб), вход Х1-48 на К-Т4 настроена симметричная АЧХ относительно метки 6800
|
| |
|
|
| RD3DS | Дата: Среда, 19.02.2025, 16:48 | Сообщение # 12 |
|
RD3DS
Группа: Администраторы
Сообщений: 198
Статус: Offline
| ЧМ детектор С42=5,0 (стоял наоборот ) установил - к переменному сопротивлению 5,0 50в К50-6 ромб 1984г(емкость 6,5мкф) R45=3,3к сп-04 ( крутили не контачит заменил СПО-0,5 3,3к 1980г)
настройка нелинейных, частотных и фазовых искажений
сигнал без модуляции Г4-102 подать на базу предыдущего транзистора 50мв DM-40 постояннка (Rвход=10мом) подключить к конденсатору нагрузки электролит С42 настроить на максимум постоянного вольтметра первый контур ТР6-L1
второй контур ТР6-L3 Сигнал с Г4-102А без модуляции на базу предыдущего каскада Вольтметр (DM-40 Rвход=10мом)постоянного тока + к общей точке С30=330,С31=330,С35=330 и - к земле настроить второй контур на 0В.и еще на слух по минимум белого шума 0 по показаниям с выхода детектора ( 0-Sкривой )
сигнал с АМ!!!!!! модуляцией 0,3 переменным резистором детектора R45 выставить минимум на выходе детектора общей точке С3,С4,С6 и земле, подавление АМ.
|
| |
|
|
| RD3DS | Дата: Среда, 19.02.2025, 16:55 | Сообщение # 13 |
|
RD3DS
Группа: Администраторы
Сообщений: 198
Статус: Offline
| АРУ охвачены Т1 и Т3 Д1=Д104А Д2= отсутствует модернизация завода. С22=5,0 живой заменил К50-6 5х16в(7мкф ромб) С24=5,0 живой заменил К50-6 5х16в(7мкф ромб) выход вч в АМ-----ТР7 (С25=240 Д2 ОТСУТСТВУЮТ) совмещен с выходом в ЧМ модернизация завода. ЧМ-----ТР4 С20=(красный с черной точкой) Д1 две цепи на Т1 и блок УКВ
|
| |
|
|
| RD3DS | Дата: Среда, 19.02.2025, 17:57 | Сообщение # 14 |
|
RD3DS
Группа: Администраторы
Сообщений: 198
Статус: Offline
| ВХОДНЫЕ КОНТУРА
х1-48 выход на антенну вход с анода диода АМ детектора сигнал и выше зеркалка настроил сигнал максимум, зеркалка минимум
ДВ насторил максимум ПОЛЬША 225 ГПД 690
КВ настраивать на выдвинутый телескоп
|
| |
|
|
| RD3DS | Дата: Среда, 19.02.2025, 18:05 | Сообщение # 15 |
|
RD3DS
Группа: Администраторы
Сообщений: 198
Статус: Offline
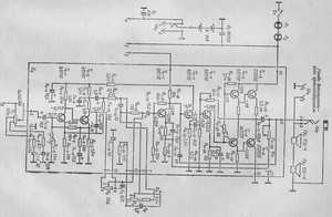
| УКВ БЛОК питание 6,8в 65,8-73мгц Антенна отдельный вход ТВ разьем !!!!!!! выход ПЧ 6,8мгц сердечники контуров гетеродина черный,УВЧ белый подстраиваются раздельно сверху крестовой отверткой. АРУ АПЧ Д901Б транзисторы не припаяны в панельках плата стеклотекстолит

$IMAGE2$
|
| |
|
|
|
|